
이번 시간에는 과학과 음모론의 경계에 있는, 아주 이상한 이야기를 하나 소개해 드려볼까 합니다.
그것은 바로 그동안 베일에 가려져 있었던 정체 불명의 비행체 "TR-3B"에 대한 이야기입니다.
그동안 전 세계에서 목격되고 있던 UFO의 정체가 바로 이 정찰기라고 주장하는 음모론자도 있었고, 또 TR-3B는 외계의 기술로 만들어진 비행체라 주장하는 사람도 있었죠.
암튼, 그동안 소문으로만 무성했었던 이 정찰기에 대한 최신 정보가 드디어 들어왔습니다.
올해 4월, 미 해군이 마치 UFO를 연상케 하는 항공기의 특허를 출원했다는 뉴스가 있었습니다.
그리고 최근 이 특허의 세부 사항이 조금씩 조금씩 밝혀지고 있습니다.

삼각형의 모양을 하고 있는 미군의 비밀 병기 "TR-3B"는 예전부터 많은 사람들에게 목격되고 있었으며, 미군이 보유하고 있는 외계의 비행 물체라는 소문까지 돌고 있었는데요.
심지어 2011년에는 이란을 공격했던 비행 물체가 바로 TR-3B라는 이야기도 있었습니다.
그러던 중, 올해 4월 TR-3B와 매우 흡사하게 생긴 신형 항공기의 특허를 미 해군의
NAWCAD(Naval Air Warfare Center Aircraft Division, 해군 공중전 센터 항공기 부문)가 취득해서 세계적으로 큰 화제를 모았습니다.

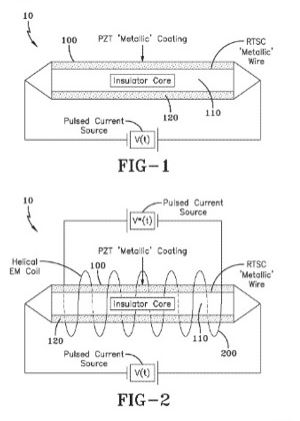
이 항공기의 특허 기술 내용에 대해서는 대부분 알려져 있지 않지만, 기체에 표면에 "양자 거품"을 형성함으로써 초고속 비행을 가능하게 하고, 공중 뿐만 아니라 바다와 우주까지 비행할 수 있는 획기적인 하이브리드 정찰기(hybrid aerospace-underwater craft)"를 실현시키는 기술로 알려져 있습니다.
여기서 잠깐, 양자 거품이란 무엇일까요?
양자 거품 이론은 미국의 물리학자 존 휠러가 만들어낸 이론으로, 간단하게 요약하자면 아주 미세한 공간에서 입자들이 거품의 형태로 무수히 생성되고 또 사라지면서 기하학적인 시공간의 흔들림을 만들어낸다는 이론입니다.
암튼, 이 새로운 정찰기는 엄청난 속도와 기동성을 가지고 있으며, 또 열 흔적을 남기지 않은 채 공중 및 수중 그리고 우주까지 비행할 수 있다고 합니다.
하지만 우리가 알다시피 이러한 기술은 현대의 과학으로 아직 불가능한 영역으로 여겨지고 있습니다.
심지어 특허 심사관도 처음에 이 기술의 특허 신청에 대해서 "이러한 기술은 존재하지 않는다" 라며 거부했었죠.
외국 뉴스 사이트에 따르면, 놀랍게도 미 해군의 초첨단 기술 특허는 이것 뿐만이 아니라고 하는데요.
이러한 신기술의 특허는 모두 NAWCAD 소속 항공 우주 기술자인 살바토레 세자르 파이스(Salvatore Cezar Pais)라는 인물에 의해 제출된 것으로 알려져 있습니다.
이번의 삼각형의 정찰기 이외에도 "고주파 중력파 생성기", "암전 효과에 의한 온도 이상 전도", "소행성을 피해갈 수 있는 전자적 역장", "관성질량 저감장치를 이용한 기술" 과 같은 매우 이상한 내용의 특허들이 즐비하죠.

이러한 점 때문인지, 이 파이스라는 인물에 대한 이상한 이야기들이 인터넷 상에 떠돌고 있습니다.
사실 이 사람은 1999년 미국 케이스 웨스턴 리저브 대학교에서 우주 공학 박사 학위를 취득한 뒤, 미국 매릴랜드 주에 있는 NAWCAD의 최신 항공기 테스트 기지에서 항공 우주 기술자로 근무하고 있습니다.
또한 NASA로 부터 연구 자금도 지원받고 있는 것으로 알려져 있죠.

참으로 희한한 점은, 이 하이브리드 정찰기의 특허 내용 중 "양자 거품"으로 기체를 감싸는 아이디어가 과거 국방부에서 근무했던 이력이 있는 루이스 엘리존도(luis Elizondo)라는 사람이 폭로한 UFO의 워프 항법 기술과도 상당히 닮아 있다는 점입니다.
그래서 이 파이스라는 기술자가 외계의 기술을 이미 알고 있는 것이 아니냐라는 의문이 계속 제기되고 있는 상황이죠.

과연 미군이 취득한 이번의 특허에는 어떠한 의미가 있고 또 어떠한 기술이 들어가 있는 걸까요?
그동안 소문으로만 무성했던 비행체의 공개가 점점 가까워지고 있다는 점은 전 세계 사람들의 마음을 두근거리게 만들고 있습니다.
분명 머지 않아 이 비행체의 기술 내용은 공개될 겁니다. 자의든 타의든 말이죠.
오늘 소개한 내용은 음모론 적인 느낌이 있었지만, 나중에 이 비행체의 정체가 밝혀졌을 때 과학적으로 다시 한번 소개해 드리도록 하겠습니다.
5만 년 전, 달에는 '인류'가 살았었다? (미래의 달 탐사가 폭로할 충격적인 진실)
5만 년 전, 달에는 '인류'가 살았었다? (미래의 달 탐사가 폭로할 충격적인 진실)
인류의 달 착륙은 1969년 아폴로 11호가 처음이었습니다. 적어도 우리는 그렇게 배우고 믿어왔습니다. 하지만, 만약 그것이 인류의 '첫 번째' 달 방문이 아니었다면 어떨까요? 최근, 지질학자이자
livelive.tistory.com
역사상 가장 신뢰도 높은 UFO 목격 사건 TOP 8, 거짓말이라 하기엔, 너무나 많은 사람들이 봤다.
역사상 가장 신뢰도 높은 UFO 목격 사건 TOP 8, 거짓말이라 하기엔, 너무나 많은 사람들이 봤다.
UFO 이야기는 대부분 '거짓말'이거나 '착각'입니다. 단 한 명의 목격자, 출처 불명의 영상. 증거는 언제나 부족하죠. 하지만, 만약 그 목격자가 수백 명이라면 어떨까요? 그 증거가 지역 신문 1면
livelive.tistory.com
UFO가 미사일에 맞는 영상이 공개되었습니다. 과연 정체가 무엇일까??
UFO가 미사일에 맞는 영상이 공개되었습니다. 과연 정체가 무엇일까??
미국의 최첨단 드론이 정체불명의 구체를 향해 헬파이어 미사일을 발사합니다. 하지만 상상했던 폭발은 일어나지 않았습니다. 미사일은 마치 고무공처럼 구체에 튕겨져 나갔고, 목표물은 아무
livelive.tistory.com
| 생물처럼 움직이는 영구 액체 자석이 개발되었다. (1) | 2019.08.04 |
|---|---|
| 인간이 만든 인공 뇌도 의식을 가지고 있을까? (0) | 2019.07.06 |
| 당신의 뇌가 할 수 있는 놀라운 일 5가지 (0) | 2019.07.02 |
| 인류의 조상은 양서류? 증거는 딸꾹질? (0) | 2019.05.20 |
| 여자의 눈물은 남성의 성욕을 억제시킨다! (0) | 2019.05.13 |